Hi,
I'm trying to build a new network with VLAN and bonding and i'm having a lot of trouble getting it up and running.
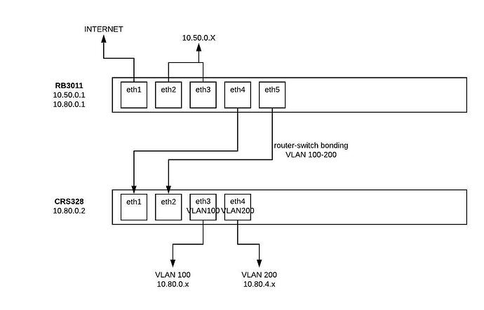
I have a RB3011 as the main router, which has been working fine for the last 3 years. The current network setuped on this router is 10.50.0.1/24
I just bought a new CRS328-24P-4S+RM to use as my main switch.
I want to create 2 new VLAN where i will move all my machines to eventually. VLAN 100 (10.80.0.0/22) and VLAN 200 (10.80.4.0/22)
Also want a bonding interface between both the switch and router.
Here is a diagram of how i would like things plugued.
I have tried this. Here is my current config:
RB3011
jul/28/2019 18:16:05 by RouterOS 6.45.1
software id = LM13-4QY3
model = RouterBOARD 3011UiAS
/interface bridge
add admin-mac=xx arp=proxy-arp auto-mac=no fast-forward=no
name=bridge-local vlan-filtering=yes
/interface bonding
add mode=802.3ad name=router-switch slaves=
ether4-slave-local,ether5-slave-local
/interface vlan
add interface=router-switch name=vlan-srv-100 vlan-id=100
/interface bridge port
add bridge=bridge-local interface=ether2-master-local
add bridge=bridge-local interface=ether3-slave-local
add bridge=bridge-local ingress-filtering=yes interface=router-switch
/interface bridge settings
set use-ip-firewall-for-vlan=yes
/interface bridge vlan
add bridge=bridge-local tagged=router-switch vlan-ids=100
/ip address
add address=10.13.37.1/16 comment="default configuration" interface=
ether2-master-local network=10.13.0.0
add address=69.70.215.78/30 interface=ether1-internet network=69.70.215.76
add address=10.80.0.1/22 interface=vlan-srv-100 network=10.80.0.0
CRS328
jan/02/1970 00:30:35 by RouterOS 6.45.1
software id = R141-ZR7S
model = CRS328-24P-4S+
/interface bridge
add admin-mac=xx auto-mac=no comment=defconf name=bridge
vlan-filtering=yes
/interface ethernet
set [ find default-name=ether2 ] mac-address=xx
/interface vlan
add interface=bridge name=vlan-srv-100 vlan-id=100
/interface bonding
add mode=802.3ad name=router-switch slaves=ether1,ether2
/interface wireless security-profiles
/interface bridge port
add bridge=bridge frame-types=admit-only-vlan-tagged ingress-filtering=yes
interface=router-switch
/interface bridge vlan
add bridge=bridge tagged=bridge,router-switch vlan-ids=100
/ip address
add address=10.80.0.2/22 interface=vlan-srv-100 network=10.80.0.0
/ip route
add distance=1 dst-address=0.0.0.0/32 gateway=10.80.0.1
The bonding seems to work fine and i'm able to ping to 10.80.0.1 which is the adress of the router VLAN 100. However i cannot ping the switch or anything else on this network.
Anything i'm missing ? Let me know if you need more information.
Thank you.
