Gifts for everyone!

Hi there,

Are there any further updates on this, such as production status etc? I am extremely eager to get my hands on one of these :slight_smile:

4 Likes

my guess for the delay is that the bill of materials costs have skyrocketed and for new contracts / new router models they will probably have to increase the reference prices or wait for the component prices to settle back down… and is not just memory price that has increased, but all kinds of parts that are made in the same silicon foundries: flash storage and CPUs too…

if i were Mikrotik i would just use SODIMM sockets for memory and standard NVME M.2 sockets for the internal storage… and either ship barebone devices that allow customers to recycle / reuse old laptop memory / storage that they already have or just accept the market conditions and ship devices with an increased MSRP and a functional minimum of hardware but allow customers to swap and replace memory/storage later…

i would be happy to be able to just reuse DIMM/SODIMM DDR4 memory and M.2 storage from old systems into a WiFi 7 router.

4 Likes

Don't worry, nothing is delayed and price will still be the best on the market. We have RAM (all stored in a secret location, don't storm the office!)

10 Likes

1 10G ethernet RJ45 port and some 2.5G and of course 10G SFP cage would be also nice :melting_face:

1 Like

already on the way :saluting_face:

But thats great to hear that there will be no delay even though most of my suppliers have pushed the date back to april

I detected a bug in description: https://mikrotik.com/product/hap_be3_media
Generation should be 7, right?

I detected two on your... :upside_down_face: :squinting_face_with_tongue:

2 Likes

It seems that even at MikroTik, not everyone can quite believe that they have entered the world of WiFi 7 yet.

5 Likes

Maybe a reversal of ROS v6 and Wifi 7 :rofl:

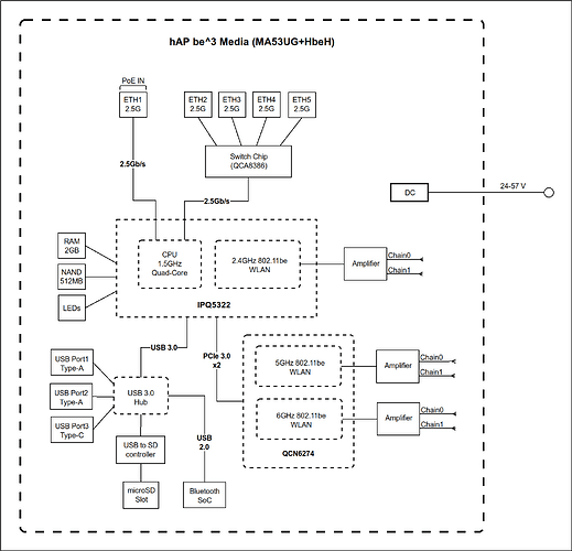
Looking at the listed switch chip QCA8386, it appears to be a 4-port switch chip, so we might have a situation like the hEX refresh / hAP ax S where ether1 is not connected to the switch chip?

If we compare at other Chinese routers with the IPQ-5322 + QCA8386 combination, there might be a combined 5Gbps limit (on the four 2.5G ports) when the chip works in switch mode (as QCA8386) that is not there when in PHY mode with individual ports (as QCA8084).

According to block diagram ETH1 is not on the switch chip...
But at least all ports are 2.5Gbps, and ETH1 is usually connected to WAN so no big deal...

It seems that even at MikroTik, not everyone can quite believe that they have entered the world of WiFi 7 yet.

Opps. I thought they had one job to do.

I really hope that Eth 2-5 are routable, like they are on the current hAp ax models.
Currently, we use Eth 4&5 for dual-WAN, 3 for management, 2 for the building network (doors etc.) and 1 for the regular LAN (1 is the 2.5 GB port on the hAp ax3, which is why it makes most sense for the LAN).
If 2-5 on the hAp be3 are on a dumb switch, it would not be a suitable device for a small business like ours.

As far as switches go hAP ax3 IPQ-PPE switch is pretty much dumbest one in the current MikroTik lineup where everything is done in software, unlike on Atheros 83xx where there is HW offloading for many functions...

We don't exactly suffer from performance problems, so at that price, it doesn't really matter. :person_shrugging:t4:
As long as the ports are routable.

On all MikroTik models you can configure individual ports. This is handled internally in the way that the hardware supports.

It can be worthwhile to see how the internal architecture is to obtain the best possible performance, but when your brain is hardwired to use the above port layout you can always keep doing that.

1 Like

This little guy with an SFP-1G/SFP2.5G on the place of one of those Eth-2.5Gbps would be great.

1 Like

You could always use media converter, actually most ISPs here where I am provide one as a part of the plan...
What I am interested in is would the QCA8386 be the first from Atheros83xx series to be supported in ROS Bridge VLAN Filtering for hardware offloading unlike QCA8337 which is supported only in cumbersome switch menu...

1 Like

What I don't understand is why the link between the CPU and the switch chip is limited at 2.5Gbps. Looking at the doc online, the IPQ5322 has two ethernet links, one at 5Gbps and one at 10Gbps. And the switch chip QCA8386 support the 10Gbps link to the CPU. Here is a device with the same combination of CPU and switch chip:

Teardown of the TP-LINK BE6500 7DR6560: A practical test explains why four 2.5G Ethernet ports share 5G bandwidth. - Router Discussion

where the 10Gbps link is usable. That switch chip when operating as switch chip has a 5Gbps limit, but it can also operate in PHY mode, presenting the 4 individual ports to the CPU and in that case 10Gbps throughput was possible (benchmark on that page).

As per that site QCA8386 have two HSGMII which are limited to 2.5Gbps, and in this case one of them is connected to IPQ5322, otherwise CPU would have to do the switching which probably isnt a great idea...
The second MII port on IPQ5322 is connected to a single 2.5Gbps PHY (with PoE in) because it is considered enough in this configuration and is cheaper bringing the overall price of the unit down...
At least this would be my 2 cents on this, only MT does know the full story :slight_smile: