Good day everyone
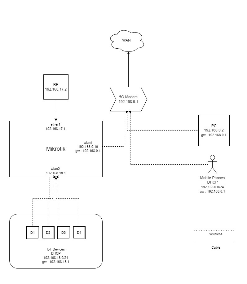
I am creating my own IoT project to manage devices in my home. So I do have an idea for its network, but since I do not have enough knowledge about Mikrotik and its network I decided to create a diagram that helps you guys understand the situation better. For the records,I have Mikrotik HAP Ac

So here is the list of things I want to achieve :
- My PC and mobile devices need an internet connection which they have right now
- My PC and mobile devices should see the RP
- IoT devices should see RP. no internet connection
- RP should see IoT devices and it needs an internet connection
- RP should be able to be seen from WAN (with DMZ on 5modem I think, Later on, i will put it behind a VPN connection, but let’s ignore that part for now)
My limitations :
- 5G modem does not have the option to define custom routes and it should be in a specific place for better bar
- My PC can not see wlan2 as it’s far away and the wifi range is bad
- I can not connect Mikrotik to 5G modem with cable as my wife does not like all those devices to be in the hallway. She only agreed to let me put 5G modem in the hallway. all other devices should be hidden in storage
Right now I don’t have any configuration on Mikrotik except a couple of addresses for each interface and some DHCP servers
Also, Mikrotik is connected to 5G modem using its wlan1
So the question is this even achievable? I know 5G modem does not know anything about wlan2 and ether1 so I can’t see RP from my PC.
Again I am just a developer with a bit of knowledge of network and Mikrotik and that would be nice if you could dumb down the answers so I can understand them ![]()
Thanks in advance