How to disable the switch as shown in the picture
How to verify if the switch has been disabled?


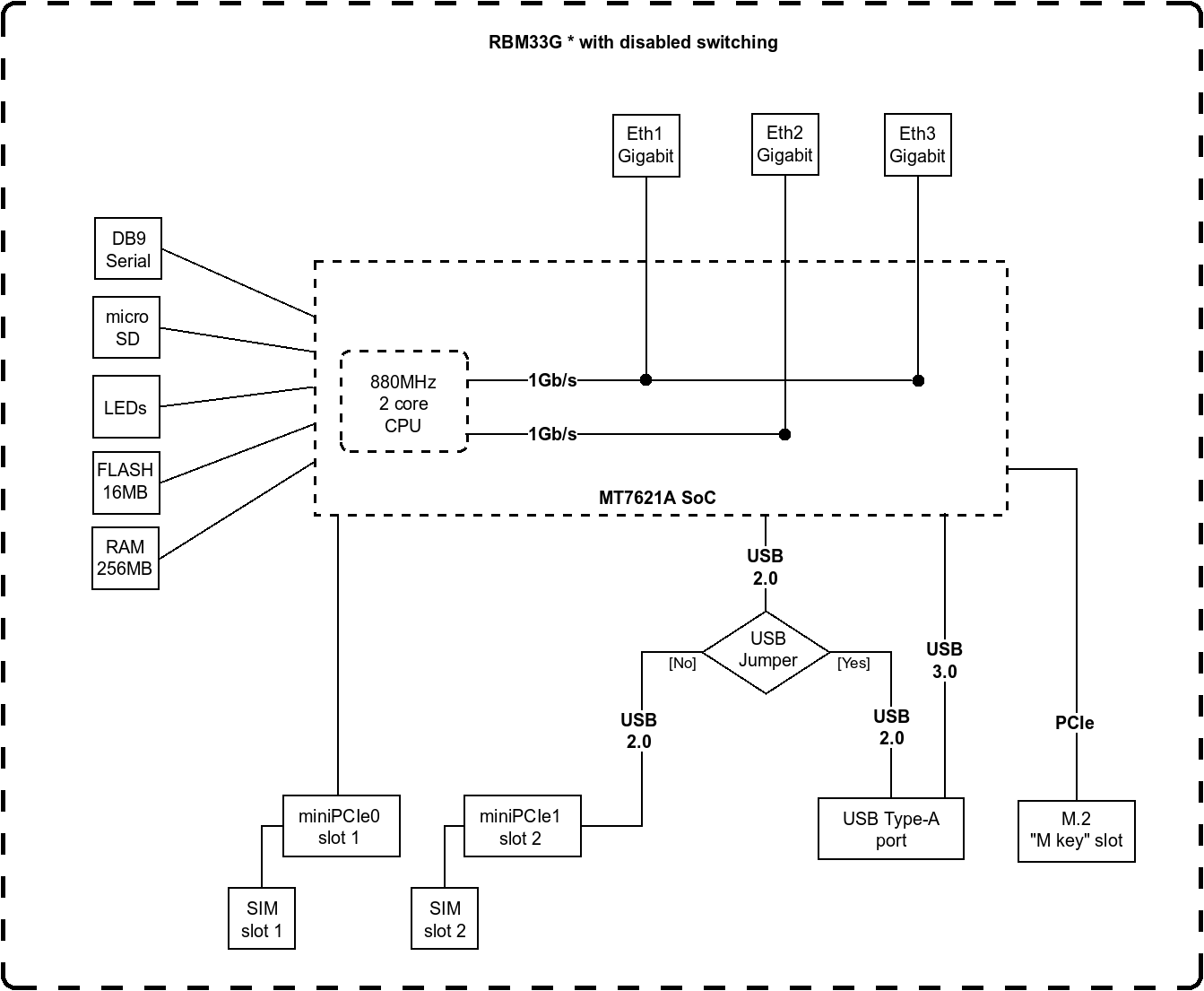
Without any config each ethernet interface operate as an independent one, when you configure a bridge you can enable switching mode
in this link you have al the info related to bridging
https://help.mikrotik.com/docs/display/ROS/Bridging+and+Switching