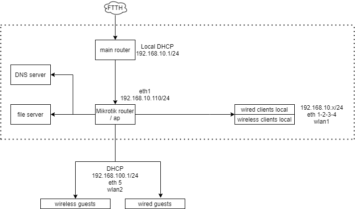
Hello Everybody, I´m new to this and i was wondering how can I do the diagram below. I already have my main dhcp server and network all running.
eth1, 2, 3, 4, and wlan1 are bridged, this gives me what i want in those ports.
wlan2, eth5 bridged in bridge-guests
i have dhcp server in bridge-guests, it gives ip correctly
But got no communication between the two networks. My intention is have guests isolated from main, but first I need to make it work without isolation.
